Insatech logo
Insatech Siemens SITRANS LVS200 Vibrating Level Switch 7ML5731 7ML5732 7ML5733 7ML5734 1X1

SITRANS LVS200

The SITRANS LVS200 from Siemens is used as a universal level switch for solids and interface measurement. It operates at process temperatures between -40...150 °C and pressures up to 10 bar. It is available with rod or cable extensions up to 4 and 20 meters, respectively. 

The LVS200 gives you several benefits:

  • Reliable material detection
  • Easy installation and maintenance
  • Handles low-density materials
  • Durable under high loads.

For sales or commercial inquiries please contact us at marine@insatech.com.

Contact us now

Adaptability and Precision for Advanced Applications

The SITRANS LVS200 offers a liquid/solid interface version, enabling it to detect settled solids within liquids—perfect for applications in feed pipes or other confined spaces. The extension capability, with customizable lengths up to 20,000 mm, makes it ideal for deeper silos or challenging environments.

With high accuracy and strong vibration resistance, it excels in both standard and low-density material detection, ensuring consistent results across diverse applications.

The device's ability to ignore liquids and focus on solid materials further enhances its precision, offering significant advantages in process optimization.

LSV200 Dimensions Siemens 1024 16X9

Key Features of the SITRANS LVS200

The LVS200 series has several benefits, some of which we have listed for you below:

  • High resistance to mechanical and material forces
  • Strong vibration resistance for heavy bulk material
  • Rotatable enclosure for easy wiring
  • Suitable for low-density materials down to 5 g/l (0.3 lb/ft³)
  • Optional detection of solids within liquids
  • Customizable extensions up to 20,000 mm (787 inches)
  • Optional 4-20 mA output for monitoring buildup and preventative maintenance
  • Compact design with a durable short fork option.

Exactly what you need? Contact us now!

Versatile Application Possibilities for the SITRANS LVS200

The SITRANS LVS200 is designed for a wide range of bulk solid and liquid/solid interface applications, ensuring reliable performance in various industries. It can be mounted in different positions to suit specific process needs, making it highly adaptable. With its robust and compact design, it detects levels accurately and prevents false readings, even in harsh conditions.

Key Applications:

  • High, low, or demand level detection of dry bulk solids in bins, silos, and hoppers
  • Detection of settled solids within liquids (liquid/solid interface version)
  • Use in confined spaces, such as feed pipes
  • Buildup monitoring with optional 4 to 20 mA output for preventative maintenance
  • Reliable performance in sticky or challenging environments.

Need more information? Contact us here

169 Marineforsidebillede

Enhanced Performance and Versatility for Bulk Solids Detection

The SITRANS LVS200 offers unmatched reliability for high, low, or demand level detection of dry bulk solids. With its ability to handle various mounting positions (top, side, or angle), it provides installation flexibility to suit specific process requirements in bins, silos, and hoppers.

Its durable design withstands mechanical forces and heavy material loads, making it ideal for harsh industrial environments. The vibrating fork design ensures the tines stay clean, while the unique fork and crystal assembly prevent false readings, even in the case of fork damage.

Optional 4 to 20 mA output allows for real-time monitoring of buildup on the fork, enabling proactive maintenance in sticky applications.

LSV100 Installation Siemens 1024 16X9

Installation Guidelines for SITRANS LVS100/200

Installation of the SITRANS LVS100/200 should only be carried out by qualified personnel, adhering to local regulations. When installing, avoid bending, shortening, or extending the tines. To position the tines, use a 50 mm open-end wrench on the process connection—do not rotate the housing itself.

For side mounting, ensure the tines are oriented vertically, with the marking on the tine facing up or down. In pressure applications, seal tapered threaded connections with PTFE tape or another appropriate sealant.

After installation, verify that cable entries face downward to prevent water ingress, and be mindful that the torque from material loading must not exceed 250 Nm. For the 1½" thread connection, ensure the mounting torque does not surpass 80 Nm.

Contact us now and let's talk price!

Mounting Considerations for Effective Detection

Typically, SITRANS LVS100/200 is mounted at the top of the vessel for full detection or through the tank wall for full, demand, or empty level detection. It is crucial to position the tines vertically to prevent product buildup by rotating the process connection with a 50 mm open-end wrench until the orientation marking faces up or down.

Angle mounting should only be used for flowing material applications. If angle mounting is necessary in areas with heavy material loading, protective measures must be in place to safeguard against falling material.

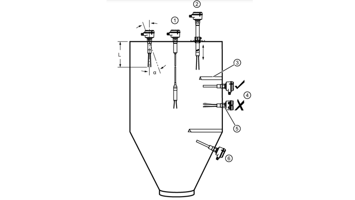
See the drawing here:

  1. Cable extension version
  2. Rigid extension with sliding sleeve
  3. Protection in case of high material loading.
  4. Cable gland faces downward to avoid water penetration.
  5. Tine orientation marking facing sideways.
  6. Angle mounting.

Need our help? Contact us here!

LSV100 Installation 1 Siemens 1024 16X9
Insatech Siemens SITRANS LVS200 Vibrating Level Switch 7ML5731 7ML5732 7ML5733 7ML5734 16 9 Insatech Siemens SITRANS LVS200 Vibrating Level Switch 02 7ML5731 7ML5732 7ML5733 7ML5734 16 9 LSV100 Installation Siemens 1024 16X9 LSV200 Dimensions Siemens 1024 16X9
Insatech Siemens SITRANS LVS200 Vibrating Level Switch 7ML5731 7ML5732 7ML5733 7ML5734 16 9
Insatech Siemens SITRANS LVS200 Vibrating Level Switch 02 7ML5731 7ML5732 7ML5733 7ML5734 16 9
LSV100 Installation Siemens 1024 16X9
LSV200 Dimensions Siemens 1024 16X9

Choosing the Right SITRANS LVS Model for Your Needs

When selecting a level switch for dry bulk solids, it's important to choose the right model based on your application's specific requirements. The SITRANS LVS series offers three models, each suited for different environments and material types, ensuring optimal performance whether you need basic level detection or heavy-duty monitoring. Here's how the SITRANS LVS100, LVS200, and LVS300 compare:

SITRANS LVS100:
  • Best for standard dry bulk solids in bins, silos, and hoppers.
  • Handles low-density materials starting at 30 g/l (1.9 lb/ft³).
  • Easy setup with no calibration required and a rotatable enclosure for flexibility.
  • Suitable for routine applications where simple, reliable performance is needed.
SITRANS LVS200:
  • Ideal for environments that need monitoring for corrosion, damage, or sludge detection.
  • Interface version can detect sludge accumulation in water and manage solids with densities above 50 g/l (3 lb/ft³).
  • Features fault monitoring for corrosion and vibration loss, enhancing reliability.
  • Offers flexible installation and adjustable sensitivity for more varied applications.
SITRANS LVS300:
  • Designed for highly demanding conditions, such as heavy bulk solids in harsh environments.
  • High resistance to mechanical forces and durable rod design to prevent false alarms from material bridging.
  • Can handle low bulk density materials starting from 20 g/l (1.2 lb/ft³) and offers extensions up to 4 meters for flexible installation.
  • Best suited for industries like mining or aggregate, where robust, durable equipment is critical.

Each model offers unique strengths, ensuring you have the right tool for your specific level detection needs.

Related products

Get in Touch with Our Experts

Insatech Medarbejdere Website MSR
For technical questions

Martin Søvind Jensen


Tel: +45 2761 4502

Email: Marine@insatech.com

Write to Martin

Test Af Websitebillede FREJ ANAN HNI
For commercial inquiries

Our team of Sales Specialists


Tel.: +45 5537 2095

Email: quotes@insatech.com

 

Contact us now

Tekniske Specifikationer
Measuring range - Distance

up to 20 m

Process temperature

-40...+150 °C

Process pressure

up to 10 bar 

Output
  • Relay (SPDT)
  • Relay (DPDT)
  • DC PNP
  • 8/16 mA or 4-20 mA
  • NAMUR
Protection rating
  • IP65
  • Type 4
  • NEMA 4
Ambient temperature

-40...60 °C

Materials, wetted parts
  • 316L
  • PTFE coated forks (særlig option)
Materiale instrumenthus

Epoxy coated aluminium

Procestilslutninger

Gevind, flange og tri-clamp

Se datablad for mere information

Godkendelser og certifikater
  • ATEX
  • IEC

Se datablad for mere information

Specifications & Manuals

  • Manual - Siemens SITRANS LVS200 Operating Instructions
    English | pdf
  • Technical Specifications - Siemens SITRANS LVS200 Datasheet
    English | pdf
  • Siemens Level Guide
    English | pdf

Didn't you find what you were looking for? 

If you are looking for some specific material, please write to us. Then we will try to find it for you, and send it as soon as possible.

Fill out the contact form 

Consent for storing of submitted data *


This site is protected by reCAPTCHA and the Google Privacy Policy and Terms of Service apply.

To top

Search